B 0102-1:2013
(1)
2019年7月1日の法改正により名称が変わりました。まえがきを除き,本規格中の「日本工業規格」を「日本産業規格」に読み替えてください。
目 次
ページ
序文 ··································································································································· 1
1 適用範囲 ························································································································· 1
2 一般······························································································································· 1
2.1 運動学的定義 ················································································································ 1
2.2 歯の特性 ······················································································································ 7
2.3 歯面及び歯面の形状 ······································································································ 18
2.4 歯車に関する幾何学的及び運動学的概念 ············································································ 23
3 円筒歯車及び円筒歯車対 ··································································································· 27
3.1 円筒歯車 ····················································································································· 27
3.2 円筒歯車対 ·················································································································· 44
4 かさ歯車対及びハイポイドギヤに関する用語 ········································································ 52
4.1 かさ歯車及びハイポイドピニオン・ホイールに関する用語 ···················································· 52
4.2 交差軸歯車対に関わる用語······························································································ 63
附属書JA(参考)JISと対応国際規格との対比表 ······································································ 66
B 0102-1:2013
(2)
2019年7月1日の法改正により名称が変わりました。まえがきを除き,本規格中の「日本工業規格」を「日本産業規格」に読み替えてください。
まえがき
この規格は,工業標準化法第12条第1項の規定に基づき,一般社団法人日本歯車工業会(JGMA)及び
一般財団法人日本規格協会(JSA)から,工業標準原案を具して日本工業規格を制定すべきとの申出があ
り,日本工業標準調査会の審議を経て,経済産業大臣が制定した日本工業規格である。
これによって,JIS B 0102:1999は廃止され,その一部を分割して制定したこの規格に置き換えられた。
この規格は,著作権法で保護対象となっている著作物である。
この規格の一部が,特許権,出願公開後の特許出願又は実用新案権に抵触する可能性があることに注意
を喚起する。経済産業大臣及び日本工業標準調査会は,このような特許権,出願公開後の特許出願及び実
用新案権に関わる確認について,責任はもたない。
JIS B 0102の規格群には,次に示す部編成がある。
JIS B 0102-1 第1部:幾何形状に関する定義
JIS B 0102-2 第2部:ウォームギヤの幾何形状に関する定義
 
2019年7月1日の法改正により名称が変わりました。まえがきを除き,本規格中の「日本工業規格」を「日本産業規格」に読み替えてください。
日本工業規格 JIS
B 0102-1:2013
歯車用語−第1部:幾何形状に関する定義
Vocabulary of gear terms-Part 1: Definitions related to geometry
序文
この規格は,1998年に第2版として発行されたISO 1122-1を基とし,技術的内容を変更して作成した日
本工業規格である。
なお,この規格で側線又は点線の下線を施してある箇所は,対応国際規格を変更している事項である。
変更の一覧表にその説明を付けて,附属書JAに示す。
1
適用範囲
この規格は,歯車の幾何形状に関する定義について規定する。
注記 この規格の対応国際規格及びその対応の程度を表す記号を,次に示す。
ISO 1122-1:1998,Vocabulary of gear terms−Part 1: Definitions related to geometry(MOD)
なお,対応の程度を表す記号“MOD”は,ISO/IEC Guide 21-1に基づき,“修正している”
ことを示す。
2
一般
2.1
運動学的定義
2.1.1
軸の相対位置
2.1.1.1
歯車(gear, toothed gear)
歯を順次かみ合わせることによって,運動を他に伝える,又は運動を他から受け取るように設計された
歯を設けた部品(図1参照)。
図1−歯車の例
2.1.1.2
歯車対(gear pair)
相対的位置を固定した軸の周りに回転できる二つ歯車からなり,歯が順次かみ合うことによって,その
一方の歯車が他方を回転させる機構(図2参照)。
 
2
B 0102-1:2013
2019年7月1日の法改正により名称が変わりました。まえがきを除き,本規格中の「日本工業規格」を「日本産業規格」に読み替えてください。
a) 模式図
b) 製図
図2−歯車対の例
2.1.1.3
歯車列(gear train, train of gear)
歯車対を組み合わせたもの(図3参照)。
図3−歯車列の例
2.1.1.4
平行軸歯車対(paralleled gears)
軸が平行である歯車対(図4参照)。
図4−平行軸歯車対の例
2.1.1.5
交差軸歯車対(intersected gears)
軸が交差する歯車対(図5参照)。
 
3
B 0102-1:2013
2019年7月1日の法改正により名称が変わりました。まえがきを除き,本規格中の「日本工業規格」を「日本産業規格」に読み替えてください。
a) かさ歯車対(2.3.2.5)
b) フェースギヤ対(4.2.1.4)
c) コニカルギヤ対(2.3.2.13)
図5−交差軸歯車対の例
2.1.1.6
食い違い軸歯車対(crossed gears)
軸が食い違っている歯車対(図6参照)。
a) ねじ歯車(3.2.1.5)
b) ハイポイドギヤ(2.3.2.9)
図6−食い違い軸歯車対の例
2.1.1.7
中心距離(centre distance)
歯車対の軸間の最短距離(図7参照)。
a) 平行軸歯車対
b) ねじ歯車(3.2.1.5)
図7−中心距離の例
2.1.1.8
軸角(shaft angle)
歯車対の軸のなす角(図8参照)。
2.1.1.7
2.1.1.7
 
4
B 0102-1:2013
2019年7月1日の法改正により名称が変わりました。まえがきを除き,本規格中の「日本工業規格」を「日本産業規格」に読み替えてください。
a) 交差軸歯車対
b) ねじ歯車(3.2.1.5)
c) ウォームギヤ(2.3.2.8)
図8−軸角の例
2.1.1.9
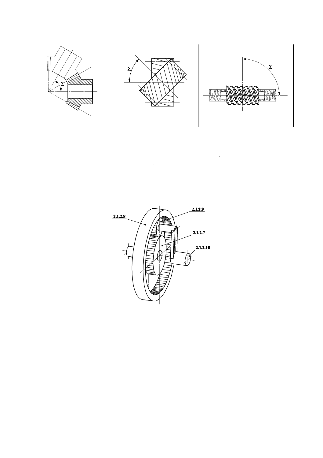
外転サイクロイド機構(epicyclic gear),外転サイクロイド歯車列(epicyclic gear train),遊星歯車機構
(planetary gear),遊星歯車列(planetary gear train)
内歯歯車(2.1.2.8)と,それと同軸で回転し,その内歯歯車及び太陽歯車(2.1.2.7)とかみ合う遊星歯車
(2.1.2.9)を支持するキャリヤ(2.1.2.10)から構成される機構。これらの構成要素が複数で構成される機
構もある(図9参照)。
図9−遊星歯車機構の例
2.1.2
相手歯車
2.1.2.1
相手歯車(mating gear)
かみ合う二つの歯車のうち,主体でない方の歯車。
2.1.2.2
小歯車(pinion)
歯車対をなす二つの歯車のうち,歯数(2.1.2.12)の少ない方の歯車。
2.1.2.3
大歯車(wheel, gear)
歯車対をなす二つの歯車のうち,歯数(2.1.2.12)の多い方の歯車。
5
B 0102-1:2013
2019年7月1日の法改正により名称が変わりました。まえがきを除き,本規格中の「日本工業規格」を「日本産業規格」に読み替えてください。
注記 “wheel”又は“gear”を大歯車とするのは,これらが“pinion”と対として用いられているこ
とが明らかな場合に限る。
2.1.2.4
駆動歯車(driving gear)
歯車対をなす二つの歯車のうち,相手の歯車を回転させる歯車。
2.1.2.5
被動歯車(driven gear)
歯車対をなす二つの歯車のうち,相手の歯車によって回転させられる歯車。
2.1.2.6
中間歯車(idler gear)
二つの歯車にかみ合って,一方から回転させられ他方を回転させる歯車。
2.1.2.7
太陽歯車(sun gear)
遊星歯車機構において,中心に位置する外歯車(図9参照)。
2.1.2.8
内歯歯車(annulus gear)
遊星歯車機構において,外側に位置する内歯車(図9参照)。
2.1.2.9
遊星歯車(planet gear)
遊星歯車機構において,キャリヤ(2.1.2.10)が支持する中間歯車(図9参照)。
2.1.2.10
キャリヤ(carrier)
遊星歯車機構において,遊星歯車を支持する回転要素(図9参照)。
2.1.2.11
セグメントギヤ(gear segment)
歯が全周にわたらない歯車。
2.1.2.12
歯数(number of teeth)
一つの歯車の全周にわたる歯の数。
2.1.2.13
歯車の一部分(sector of a gear)
一つの歯車の中から連続した数ピッチを取り出した部分。
2.1.3
相対速度
2.1.3.1
歯数比(gear ratio)
大歯車の歯数を小歯車の歯数で除した値。
2.1.3.2
速度伝達比(transmission ratio)
歯車の入力軸の角速度を出力軸の角速度で除した値。
注記 必要があれば,速度伝達比に,両歯車の回転方向が同じときに+,逆のときに−を付ける。
 
6
B 0102-1:2013
2019年7月1日の法改正により名称が変わりました。まえがきを除き,本規格中の「日本工業規格」を「日本産業規格」に読み替えてください。
2.1.3.3
減速歯車(speed reducing gears)
出力軸の角速度が,入力軸の角速度より小さい歯車対又は歯車列。
2.1.3.4
増速歯車(speed increasing gears)
出力軸の角速度が,入力軸の角速度より大きい歯車対又は歯車列。
2.1.3.5
減速比(speed reducing ratio)
減速歯車の速度伝達比。
2.1.3.6
増速比(speed increasing ratio)
増速歯車の速度伝達比の逆数。
2.1.4
ピッチ面及び基準面
2.1.4.1
ピッチ面(pitch surface)
与えられた歯車対で,相手歯車の相対運動の瞬間軸が,考えている歯車に対して描く幾何学的な面(図
10参照)。
注記 平行軸歯車対及び交差軸歯車対のピッチ面は,滑ることなく互いに転がる。食い違い軸(円筒
及びハイポイド)歯車対のピッチ面は,歯面に沿った滑りを伴う。
a) 円筒歯車(2.3.2.1)
b) ラック(3.1.7.1)
c) 冠歯車(4.1.6.1)
図10−ピッチ面及びピッチ平面の例
2.1.4.2
基準面(reference surface)
歯車の歯の寸法を定義する,基準となる面(図11参照)。
図11−基準面の例
7
B 0102-1:2013
2019年7月1日の法改正により名称が変わりました。まえがきを除き,本規格中の「日本工業規格」を「日本産業規格」に読み替えてください。
2.1.4.3
基準…(reference …)
歯車の基準面に関連して定義され,用語に適用される限定詞。
注記 “基準”と“かみ合い”とを明確に区別する必要がない場合,慣用的に限定詞“基準”を既知
のこととして省略してもよい。加工時のデータム面として“基準面”を使用し,これと混同す
るおそれがある場合は,限定詞“歯の基準”を用いる。
2.1.4.4
かみ合い…(operating …)
歯車のピッチ面に関連して定義され,用語に適用される限定詞。
注記 “基準”と“かみ合い”とを明確に区別する必要がない場合,慣用的に限定詞“基準”を既知
のこととして省略してもよい。加工時のデータム面として“基準面”を使用し,これと混同す
るおそれがある場合は,限定詞“歯の基準”を用いる。
2.1.4.5
ピッチ平面(pitch plane)
ラック(3.1.7.1),又は冠歯車(4.1.6.1)のピッチ面(図10参照)。
2.2
歯の特性
2.2.1
寸法及び係数
2.2.1.1
歯(tooth, gear tooth)
相手歯車のこれらの要素に対応する要素間の空間に入り込み,これによって一方の歯車が他方を回転さ
せることを保証する歯車の要素。
2.2.1.2
歯溝(tooth space)
歯車の隣り合う二つの歯の間の空間。
2.2.1.3
歯部(toothing)
歯のある部品の完全な歯の部分。
2.2.1.4
ピッチ(pitch)
隣接する対応歯面(2.2.4.4)の,ある特定の方向での均一な間隔を定義した寸法。
2.2.1.5
モジュール(module)
基準面上でのピッチを,円周率πで除した値。
2.2.1.6
ダイヤメトラルピッチ(diametral pitch)
円周率πをインチ単位で表示した,基準面上でのピッチで除した値。
2.2.1.7
モジュール単位(unity value of dimension)
ミリメートル単位で表した歯の寸法を与える寸法を,モジュールで除した値。
注記 歯の寸法を与える寸法が転位量(3.1.8.6)の場合,この値は“転位係数”という。
 
8
B 0102-1:2013
2019年7月1日の法改正により名称が変わりました。まえがきを除き,本規格中の「日本工業規格」を「日本産業規格」に読み替えてください。
2.2.1.8
有効歯幅(effective facewidth)
かみ合っているとみなされる歯幅(3.1.1.14)。
2.2.2
歯先及び歯底面
2.2.2.1
歯先面(tip surface)
外歯車(2.2.2.7)の歯の外接面,又は内歯車(2.2.2.8)の歯の内接面を含む,同軸回転面(図12参照)。
a) 外歯車
b) 内歯車
図12−歯先面の例
2.2.2.2
歯末(addendum)
基準面と歯先面との間の歯の部分(図13参照)。
2.2.2.3
歯の頂部(top land)
一つの歯の歯先面の部分(図13参照)。
図13−歯の部分の名称の例(1)
2.2.2.4
歯底面(root surface)
歯溝の底を含む同軸回転面(図14参照)。
2.2.2.1
2.2.2.1
 
9
B 0102-1:2013
2019年7月1日の法改正により名称が変わりました。まえがきを除き,本規格中の「日本工業規格」を「日本産業規格」に読み替えてください。
図14−歯底面の例
2.2.2.5
歯元(dedendum)
基準面と歯底面との間の歯の部分(図15参照)。
2.2.2.6
歯底(bottom land)
一つの歯溝のすみ肉(2.2.5.5)間の歯底面の部分(図15参照)。
図15−歯の部分の名称の例(2)
2.2.2.7
外歯車(external gear)
歯先面が歯底面の外側にある歯車(図16参照)。
注記1 曖昧さを避けるために,特にかさ歯車においては,その歯車の軸に直交する一つの断面にお
いて考える。
注記2 ラック(3.1.7.1)は,外歯車とみなす。
a) 円筒歯車(2.3.2.1)
b) かさ歯車(2.3.2.2)
図16−外歯車の例
2.2.2.8
内歯車(internal gear)
歯先面が歯底面の内側にある歯車(図17参照)。
 
10
B 0102-1:2013
2019年7月1日の法改正により名称が変わりました。まえがきを除き,本規格中の「日本工業規格」を「日本産業規格」に読み替えてください。
図17−内歯車の例
2.2.2.9
外歯車対(external gear pair)
両歯車が外歯車である歯車対(図18参照)。
a) 円筒歯車(2.3.2.1)
b) かさ歯車(2.3.2.2)
図18−外歯車対の例
2.2.2.10
内歯車対(internal gear pair)
内歯車と外歯車とからなる歯車対(図19参照)。
図19−内歯車対の例
2.2.3
歯面及び歯形
2.2.3.1
歯面(tooth flank)
歯先面と歯底面との間の歯の表面部分(図20参照)。
 
11
B 0102-1:2013
2019年7月1日の法改正により名称が変わりました。まえがきを除き,本規格中の「日本工業規格」を「日本産業規格」に読み替えてください。
図20−歯面定義の例
2.2.3.2
基準歯すじ(tooth trace)
歯面と基準面との交線(図21参照)。
図21−基準歯すじの例
2.2.3.3
歯すじ(flank line)
歯面と任意の同軸回転面との交線。
2.2.3.4
歯形(tooth profile)
基準面を切断する任意の面と歯面との交線(図22参照)。
図22−歯形の例
2.2.3.5
正面歯形(transverse profile)
基準面の直線母線に垂直な面と歯面との交線(図23参照)。
2.2.3.1
2.2.5.4
2.2.5.5
 
12
B 0102-1:2013
2019年7月1日の法改正により名称が変わりました。まえがきを除き,本規格中の「日本工業規格」を「日本産業規格」に読み替えてください。
図23−正面歯形の例
2.2.3.6
歯直角歯形(normal profile)
基準歯すじに直交する面と歯面との交線。
2.2.3.7
軸歯形(axial profile)
歯車の軸を含む平面と歯面との交線。
2.2.3.8
設計歯形(design profile)
設計者が決めた目標歯形。
2.2.4
限定詞付き歯面
2.2.4.1
相手歯面(mating flank)
歯車対において,接触している二つの歯面のうちのどちらか一つの歯面。他方の歯面に対して用いる(図
24参照)。
図24−相手歯面の例
2.2.4.2
右歯面(right flank)
基準側として選んだ歯車の側面から歯先を上にして見た場合に,右側の歯面(図25参照)。
 
13
B 0102-1:2013
2019年7月1日の法改正により名称が変わりました。まえがきを除き,本規格中の「日本工業規格」を「日本産業規格」に読み替えてください。
a) 外歯車
b) 内歯車
図25−右歯面の例
2.2.4.3
左歯面(left flank)
基準側として選んだ歯車の側面から歯先を上にして見た場合に,左側の歯面(図26参照)。
a) 外歯車
b) 内歯車
図26−左歯面の例
2.2.4.4
対応歯面(corresponding flanks)
全ての右歯面又は全ての左歯面(図27参照)。
図27−対応歯面の例
2.2.4.5
反対歯面(opposite flanks)
左歯面に対する右歯面,又は右歯面に対する左歯面(図28参照)。
 
14
B 0102-1:2013
2019年7月1日の法改正により名称が変わりました。まえがきを除き,本規格中の「日本工業規格」を「日本産業規格」に読み替えてください。
図28−反対歯面の例
2.2.4.6
作用歯面(operating flank)
相手歯車に運動を伝達するか,又は相手歯車から運動を伝達される側の歯面(図29参照)。
図29−作用歯面の例
2.2.4.7
非作用歯面(non-operating flank)
作用歯面とならない歯面(図30参照)。
図30−非作用歯面の例
2.2.5
歯面の各部
2.2.5.1
歯末歯面(addendum flank)
歯末にある歯面の部分(図31参照)。
図31−歯末歯面の例
 
15
B 0102-1:2013
2019年7月1日の法改正により名称が変わりました。まえがきを除き,本規格中の「日本工業規格」を「日本産業規格」に読み替えてください。
2.2.5.2
歯元歯面(dedendum flank)
歯元にある歯面の部分(図32参照)。
図32−歯元歯面の例
2.2.5.3
かみ合い歯面(active flank)
相手歯車の歯面と接触する歯面の部分(図33参照)。
図33−かみ合い歯面の例
2.2.5.4
可用歯面(usable flank)
かみ合い歯面として使用できる歯面の部分(図20参照)。
2.2.5.5
すみ肉(fillet)
可用歯面と歯底面との間の歯面(図20及び図34参照)。
図34−すみ肉の例
2.2.5.6
可用歯面開始点半径(usable-contact radius)
可用歯面とすみ肉との接合線を含む,仮想の同軸回転面の半径。
 
16
B 0102-1:2013
2019年7月1日の法改正により名称が変わりました。まえがきを除き,本規格中の「日本工業規格」を「日本産業規格」に読み替えてください。
2.2.5.7
かみ合い半径(active-contact radius)
有効な接触が終わる歯すじ曲線を含む,仮想の同軸回転面の半径。
2.2.5.8
歯先(tooth tip)
歯面と歯先面との交線(図35参照)。
図35−歯先の例
2.2.6
歯すじに関する用語
2.2.6.1
平歯車(spur gear)
基準歯すじが基準円筒(3.1.1.1)の直線母線である円筒歯車(2.3.2.1)(図36参照)。
図36−平歯車の例
2.2.6.2
すぐばかさ歯車(straight bevel gear)
基準歯すじが基準円すい(4.1.1.1)の直線母線であるかさ歯車(2.3.2.2)(図37参照)。
図37−すぐばかさ歯車の例
2.2.6.3
はすば歯車(helical gear)
基準歯すじがつるまき線(2.4.1.1)である円筒歯車(2.3.2.1)(図38参照)。
 
17
B 0102-1:2013
2019年7月1日の法改正により名称が変わりました。まえがきを除き,本規格中の「日本工業規格」を「日本産業規格」に読み替えてください。
図38−はすば歯車の例
2.2.6.4
右ねじれの歯(right-hand teeth)
基準面の直線母線に沿って観察者からの距離が増加していくにつれて,連なる正面歯形が時計方向に移
動する歯(図39参照)。
a) 外歯車
b) 内歯車
c) まがりばかさ歯車(2.2.6.7)
図39−右ねじれの歯の例
2.2.6.5
左ねじれの歯(left-hand teeth)
基準面の直線母線に沿って観察者からの距離が増加していくにつれて,連なる正面歯形が反時計方向に
移動する歯(図40参照)。
a) 外歯車
b) 内歯車
c) まがりばかさ歯車(2.2.6.7)
図40−左ねじれの歯の例
2.2.6.6
やまば歯車(double helical gear)
右ねじれの歯をもつ歯幅の部分と左ねじれの歯をもつ歯幅の部分をもつ円筒歯車(2.3.2.1)。両者の間に
溝のあるもの及びないものがある(図41参照)。
a) 溝のあるもの
b) 溝のないもの
図41−やまば歯車の例
 
 
 
18
B 0102-1:2013
2019年7月1日の法改正により名称が変わりました。まえがきを除き,本規格中の「日本工業規格」を「日本産業規格」に読み替えてください。
2.2.6.7
まがりばかさ歯車(spiral bevel gear)
歯すじが,つるまき線(2.4.1.1)以外の曲線であるかさ歯車(2.3.2.2)(図42参照)。
図42−まがりばかさ歯車の例
2.2.6.8
はすばかさ歯車(helical bevel gear, skew bevel gear)
歯すじが,円すいのつるまき線(2.4.1.1)であるかさ歯車(図43参照)。
図43−はすばかさ歯車の例
2.3
歯面及び歯面の形状
2.3.1
歯面形状に関する用語
2.3.1.1
歯車の作用(gear action)
一方が他方によって回され,それらがある特定の比率の角速度をもつときの,回転できるように支持さ
れたかみ合う歯車の働き。
2.3.1.2
創成用歯車(generating gear)
着目する歯車の歯部を定義するために使われる,実在又は仮想の歯車。
注記 この着目した歯部の有効歯面は,位置及び相対運動を特定した条件下において,その創成用歯
車の有効歯面の包絡線からなる。
2.3.1.3
歯先干渉(tip interference)
かみ合い干渉(meshing interference)
かみ合う歯車対において生じる,一方の歯車歯先と他方の歯車歯面間との食い込むような接触。
2.3.1.4
歯先修整(tip relief)
歯先干渉を避け円滑な歯のかみ合いを得るために施す,歯先付近の材料除去を伴う意図的な歯形の修整
(図44参照)。
 
19
B 0102-1:2013
2019年7月1日の法改正により名称が変わりました。まえがきを除き,本規格中の「日本工業規格」を「日本産業規格」に読み替えてください。
2.3.1.5
歯元修整(root relief)
歯先干渉を避け円滑な歯のかみ合いを得るために施す,歯底付近の材料除去を伴う意図的な歯形の修整
(図44参照)。
図44−歯先修整及び歯元修整の例
2.3.1.6
歯元にがし(undercut)
歯面仕上げの機械加工を容易にするため,通常,こぶ付き歯切り工具を用いた材料除去による歯元すみ
肉の意図的な修整(図45参照)。
図45−歯元にがしの例
2.3.1.7
切下げ(natural undercut)
工具刃先で可用歯面の歯元を切り取る現象(図46参照)。
図46−切下げの例
2.3.1.8
クラウニング(crowning)
 
20
B 0102-1:2013
2019年7月1日の法改正により名称が変わりました。まえがきを除き,本規格中の「日本工業規格」を「日本産業規格」に読み替えてください。
歯の両側端に向かっての歯幅(3.1.1.14及び4.1.3.1)全体にわたる歯厚を滑らかに減少させた形状(図
47参照)。
図47−クラウニングの例
2.3.1.9
エンドリリーフ(end relief)
歯の両側端に向かっての歯幅(3.1.1.14及び4.1.3.1)の小部分における,歯厚の線形減少又は歯厚を滑ら
かに減少させた形状(図48参照)。
図48−エンドリリーフの例
2.3.2
歯車形状に関する用語
2.3.2.1
円筒歯車(cylindrical gear)
基準面が円筒である歯車。
2.3.2.2
かさ歯車(bevel gear)
基準面が円すいである歯車。
2.3.2.3
円筒歯車対(cylindrical gear pair)
かみ合う二つの円筒歯車(図49参照)。
注記 この歯車対は,二つの平歯車から構成される場合には“平歯車対”といい,二つのはすば歯車
から構成される場合には“はすば歯車対”という。
 
21
B 0102-1:2013
2019年7月1日の法改正により名称が変わりました。まえがきを除き,本規格中の「日本工業規格」を「日本産業規格」に読み替えてください。
a) 外歯車対
b) 内歯車対
c) ねじ歯車(3.2.1.5)
図49−円筒歯車対の例
2.3.2.4
やまば歯車対(double-helical gear pair)
かみ合う二つのやまば歯車。
2.3.2.5
かさ歯車対(bevel gear pair)
かみ合う二つのかさ歯車(図50参照)。
注記 この歯車対は,二つのすぐばかさ歯車から構成される場合には“すぐばかさ歯車対”,二つのは
すばかさ歯車から構成される場合には“はすばかさ歯車対”,二つのまがりばかさ歯車から構成
される場合には“まがりばかさ歯車対”という。
図50−かさ歯車対の例
2.3.2.6
ウォーム(worm)
ウォームホイール(2.3.2.7)とかみ合うねじ状の歯をもつ,円筒形又は鼓形の歯車(図51参照)。
a) 円筒ウォーム
b) 鼓形ウォーム
図51−ウォームの例
 
 
 
22
B 0102-1:2013
2019年7月1日の法改正により名称が変わりました。まえがきを除き,本規格中の「日本工業規格」を「日本産業規格」に読み替えてください。
2.3.2.7
ウォームホイール(wormwheel)
食い違い軸歯車対としてウォームの歯面と線接触することができる歯面をもつ歯車(図52参照)。
図52−ウォームホイールの例
2.3.2.8
ウォームギヤ(worm gear pair)
食い違い軸間でかみ合うウォーム及びウォームホイールからなる歯車対(図53参照)。
図53−ウォームギヤの例
2.3.2.9
ハイポイドギヤ(hypoid gear pair)
食い違い軸間でかみ合う円すい,又はほぼ円すい形状の二つの歯車からなる歯車対(図54参照)。
図54−ハイポイドギヤの例
2.3.2.10
ハイポイドピニオン(hypoid pinion)
ハイポイドギヤの小歯車(図54参照)。
 
23
B 0102-1:2013
2019年7月1日の法改正により名称が変わりました。まえがきを除き,本規格中の「日本工業規格」を「日本産業規格」に読み替えてください。
2.3.2.11
ハイポイドホイール(hypoid wheel)
ハイポイドギヤの大歯車(図54参照)。
2.3.2.12
コニカルギヤ(conical gear)
転位量(3.1.8.6)が軸方向に連続的に変化するインボリュート(2.4.1.8)を正面歯形とする,円すい形の
歯車。
2.3.2.13
コニカルギヤ対(conical gear pair)
かみ合う二つのコニカルギヤ。
2.4
歯車に関する幾何学的及び運動学的概念
2.4.1
線に関する用語
2.4.1.1
つるまき線(helix)
円筒又は円すい上に巻いた曲線で,その接線が円筒又は円すいの軸に対して一定の角度で傾いているも
の。
2.4.1.2
ねじれ角(helix angle)
つるまき線の接線と,つるまき線が巻き付いている円筒又は円すいの直線母線との間の鋭角側の角度(図
55参照)。
図55−ねじれ角の例
2.4.1.3
進み角(lead angle)
つるまき線の接線と,つるまき線が巻き付いている円筒の軸に垂直な平面との間の鋭角側の角度(図56
参照)。
図56−進み角の例
2.4.1.4
リード(lead)
2.4.1.3
2.4.1.2
 
24
B 0102-1:2013
2019年7月1日の法改正により名称が変わりました。まえがきを除き,本規格中の「日本工業規格」を「日本産業規格」に読み替えてください。
つるまき線と,それがのっている円筒の直線母線との連続した二つの交点間の距離(図57参照)。
図57−リードの例
2.4.1.5
サイクロイド(cycloid)
ある固定された直線[基線(base line)]の上を,滑りなく転がる円[創成円(generating circle)]上の一
点が描く平面曲線(図58参照)。
図58−サイクロイドの例
2.4.1.6
外転サイクロイド(epicycloid)
ある固定された円[基円(base circle)]の外側を,滑りなく転がる円[創成円(generating circle)]上の
一点が描く平面曲線(図59参照)。
図59−外転サイクロイドの例
2.4.1.7
内転サイクロイド(hypocycloid)
ある固定された円[基円(base circle)]の内側を,滑りなく転がる円[創成円(generating circle)]上の
一点が描く平面曲線(図60参照)。
 
25
B 0102-1:2013
2019年7月1日の法改正により名称が変わりました。まえがきを除き,本規格中の「日本工業規格」を「日本産業規格」に読み替えてください。
図60−内転サイクロイドの例
2.4.1.8
インボリュート(involute)
ある固定された円[基礎円(3.1.7.5)]の外側を,滑りなく転がる直線[創成線(generating line)]上の
一点が描く平面曲線(図61参照)。
図61−インボリュートの例
2.4.1.9
球面インボリュート(spherical involute)
球面上で固定されたある小円(基円)上を滑りなく転がり,球面全体にわたって動く大円(創成円)上
のある一点が描く球面上の曲線(図62参照)。
図62−球面インボリュート及び球面インボリュートねじ面の例
2.4.1.10
オクトイド(octoid)
平面歯面をもつ冠歯車に共役なかさ歯車の仮想の球状境界面上に描かれる接触点軌跡の全体が8の形と
なることから派生した修飾用語(図63参照)。
注記 この用語は,かさ歯車の通常の創成歯面形状(近似的にインボリュート)に関する用語を修飾
 
26
B 0102-1:2013
2019年7月1日の法改正により名称が変わりました。まえがきを除き,本規格中の「日本工業規格」を「日本産業規格」に読み替えてください。
するために用いられる。
図63−オクトイドとなる接触線軌跡の例
2.4.1.11
インボリュート転がり角(involute roll angle)
単位半径をもつある円上の弧で,その円に対するインボリュート上の与えられたある1点における圧力
角の正接に等しくなる弧に対する中心角(図64参照)。
2.4.1.12
インボリュート角(involute polar angle)
インボリュート上の点の動径と,インボリュート始点を通る半径との間の角(図64参照)。
図64−インボリュート転がり角及びインボリュート角の例
2.4.2
面に関する用語
2.4.2.1
インボリュートねじ面(involute helicoid)
ある円筒[基礎円筒(3.1.7.6)]に接する平面がその円筒上を滑りなく転がるとき,平面上にあり,かつ,
その平面と円筒の接触線に対してある一定の角度で傾いている直線の運動によって創成される曲面(図65
参照)。
注記 インボリュートねじ面と,その基礎円筒(3.1.7.6)の軸に直交する平面との交線は,インボリ
ュートとなる。
2.4.1.10
 
27
B 0102-1:2013
2019年7月1日の法改正により名称が変わりました。まえがきを除き,本規格中の「日本工業規格」を「日本産業規格」に読み替えてください。
図65−インボリュートねじ面の例
2.4.2.2
球面インボリュートねじ面(spherical involute helicoid)
ある円すい[基礎円すい(base cone)]に接する平面が,その円すい上を滑ることなく転がるとき,平面
上にあり,かつ,その平面と円すいの接触に対してある一定の角度で傾いている直線の運動によって創成
された曲面(図62参照)。
2.4.2.3
瞬間中心軸(instantaneous axis of relative rotation)
平行軸歯車対又は交差軸歯車対で,ある与えられた瞬間に,一方の歯車にのって見たときの相手歯車の
回転中心軸。
2.4.2.4
創成点(generator)
線を描き出す動点。
2.4.2.5
創成母線(generator)
面を描き出す動直線。
3
円筒歯車及び円筒歯車対
3.1
円筒歯車
注記 3.1.1〜3.1.9の定義は,ラックについても有効である。ラックは,無限に大きい直径をもつ円筒
歯車と考える。
3.1.1
円筒
3.1.1.1
基準円筒(reference cylinder)
円筒歯車の基準面(図66参照)。
2.4.2.1
 
28
B 0102-1:2013
2019年7月1日の法改正により名称が変わりました。まえがきを除き,本規格中の「日本工業規格」を「日本産業規格」に読み替えてください。
図66−基準円筒の例
3.1.1.2
ピッチ円筒(pitch cylinder)
平行軸歯車対におけるそれぞれの円筒歯車のピッチ面(図67参照)。
図67−ピッチ円筒の例
3.1.1.3
歯先円筒(tip cylinder)
円筒歯車の歯先面(図68参照)。
図68−歯先円筒の例
3.1.1.4
歯底円筒(root cylinder)
円筒歯車の歯底面(図69参照)。
3.1.1.3
3.1.1.2
3.1.1.1
 
29
B 0102-1:2013
2019年7月1日の法改正により名称が変わりました。まえがきを除き,本規格中の「日本工業規格」を「日本産業規格」に読み替えてください。
図69−歯底円筒の例
3.1.1.5
正面歯形(transverse profile)
歯面と,基準円筒の直線母線に垂直な面との交線(図70参照)。
図70−正面歯形の例
3.1.1.6
基準円(reference circle)
歯車の軸に垂直な平面による基準円筒の断面(図71参照)。
3.1.1.7
ピッチ円(pitch circle)
歯車の軸に垂直な平面によるピッチ円筒の断面(図71参照)。
図71−ピッチ円,基準円の例
3.1.1.8
基準円直径(reference diameter)
基準円の直径。
3.1.1.9
ピッチ円直径(pitch diameter)
ピッチ円の直径。
3.1.1.4
 
30
B 0102-1:2013
2019年7月1日の法改正により名称が変わりました。まえがきを除き,本規格中の「日本工業規格」を「日本産業規格」に読み替えてください。
3.1.1.10
歯先円(tip circle)
歯車の軸に垂直な平面による歯先円筒の断面。
3.1.1.11
歯底円(root circle)
歯車の軸に垂直な平面による歯底円筒の断面。
3.1.1.12
歯先円直径(tip diameter)
歯先円の直径。
3.1.1.13
歯底円直径(root diameter)
歯底円の直径。
3.1.1.14
歯幅(facewidth)
基準円筒の直線母線に沿って測られた,歯車の歯の部分の幅(図72参照)。
図72−歯幅の例
3.1.2
はすば歯車のつるまき線
3.1.2.1
基準円筒つるまき線(reference helix)
はすば歯車の基準歯すじ(図73参照)。
図73−基準円筒つるまき線の例
3.1.2.2
ピッチ円筒つるまき線(pitch helix)
はすば歯車のピッチ面上の歯すじ面。
3.1.2.3
基礎円筒つるまき線(base helix)
インボリュートはすば歯車において,歯面のインボリュートねじ面と基礎円筒(3.1.7.6)との交線。
3
.1
.1
.1
4
 
31
B 0102-1:2013
2019年7月1日の法改正により名称が変わりました。まえがきを除き,本規格中の「日本工業規格」を「日本産業規格」に読み替えてください。
3.1.2.4
ねじれ角(helix angle)
はすば歯車の基準円筒つるまき線のねじれ角(図74参照)。
注記 これは,基準面に関する用語である(限定詞“基準”が伏せられている。)。ピッチ面に関する
用語には,限定詞“かみ合い”を付加する。
図74−ねじれ角の例
3.1.2.5
基礎円筒ねじれ角(base helix angle)
インボリュートはすば歯車の基礎円筒つるまき線のねじれ角(図75参照)。
図75−基礎円筒ねじれ角の例
3.1.2.6
進み角(lead angle)
はすば歯車の基礎円筒つるまき線の進み角(2.4.1.3)(図76参照)。
注記 これは,基準面に関する用語である(限定詞“基準”が伏せられている。)。ピッチ面に関する
用語には,限定詞“かみ合い”を付加する。
図76−進み角の例
3.1.2.7
基礎円筒進み角(base lead angle)
インボリュートはすば歯車の基礎円筒つるまき線の進み角(図77参照)。
3.1.2.4
 
32
B 0102-1:2013
2019年7月1日の法改正により名称が変わりました。まえがきを除き,本規格中の「日本工業規格」を「日本産業規格」に読み替えてください。
図77−基礎円筒進み角の例
3.1.2.8
リード(lead)
はすば歯車の基準円筒つるまき線のリード(図78参照)。ピッチ円筒つるまき線,基準円筒つるまき線
のリードと等しい。
図78−リードの例
3.1.2.9
軸方向ピッチ(axial pitch)
はすば歯車の軸に平行な任意の直線と,連続する二つの対応歯面の交点間との距離(図79参照)。
図79−軸方向ピッチの例
3.1.3
歯たけに関する用語
3.1.3.1
歯たけ(tooth depth)
歯先円と歯底円との半径方向距離(図80参照)。
図80−歯たけの例
3.1.3.2
歯末のたけ(addendum)
3.1.2.9
3.1.2.7
 
33
B 0102-1:2013
2019年7月1日の法改正により名称が変わりました。まえがきを除き,本規格中の「日本工業規格」を「日本産業規格」に読み替えてください。
歯先円と基準円との半径方向距離(図81参照)。
注記 これは,基準面に関する用語である(限定詞“基準”が伏せられている。)。ピッチ面に関する
用語には,限定詞“かみ合い”を付加する。
a) 外歯車
b) 内歯車
図81−歯末のたけの例
3.1.3.3
歯元のたけ(dedendum)
歯底円と基準円との半径方向距離(図82参照)。
注記 これは,基準面に関する用語(限定詞“基準”が伏せられている。)。ピッチ面に関する用語に
は,限定詞“かみ合い”を付加する。
a) 外歯車
b) 内歯車
図82−歯元のたけの例
3.1.4
正面寸法
注記 平歯車の場合,歯直角断面(3.1.5.1)と正面断面(3.1.4.1)とは同じであり,用語に限定詞は不
要である。したがって,それらの記号には,これらを意味する添え字は付けない。
3.1.4.1
正面断面(transverse plane)
軸に直交する平面。軸直角断面ともいう。
3.1.4.2
任意点の正面圧力角(transverse pressure angle at a point)
正面歯形上の任意の点を通る半径線と,その点における正面歯形の接線との間の鋭角側の角度(図83
参照)。
 
34
B 0102-1:2013
2019年7月1日の法改正により名称が変わりました。まえがきを除き,本規格中の「日本工業規格」を「日本産業規格」に読み替えてください。
図83−任意点の正面圧力角の例
3.1.4.3
正面圧力角(transverse pressure angle)
正面歯形が基準円と交わる点の正面圧力角(図84参照)。
注記 これは,基準面に関する用語(限定詞“基準”が伏せられている。)。ピッチ面に関する用語に
は,限定詞“かみ合い”を“正面”の後に付加する。
図84−正面圧力角の例
3.1.4.4
正面ピッチ(transverse pitch)
連続する対応歯形の間にある基準円の弧の長さ(図85参照)。
図85−正面ピッチの例
3.1.4.5
角度ピッチ(angular pitch)
円の円周角を,歯車の歯数(z)で除した値。360/z[°]又は2π/z [rad]。
3.1.4.6
正面モジュール(transverse module)
正面ピッチを円周率πで除した値。基準円直径を歯数で除した値に等しい。
3.1.4.4
3.1.4.3
3.1.4.2
 
35
B 0102-1:2013
2019年7月1日の法改正により名称が変わりました。まえがきを除き,本規格中の「日本工業規格」を「日本産業規格」に読み替えてください。
3.1.4.7
正面歯厚(transverse tooth thickness)
一つの歯の両側の正面歯形の間にある基準円の弧の長さ(図86参照)。
注記 これは,基準面に関する用語である(限定詞“基準”が伏せられている。)。ピッチ面に関する
用語には,限定詞“かみ合い”を“正面”の後に付加する。
a) 外歯車
b) 内歯車
図86−正面歯厚の例
3.1.4.8
正面歯溝幅(transverse spacewidth)
一つの歯溝の両側の歯形の間にある,基準円の弧の長さ(図87参照)。
注記 これは,基準面に関する用語である(限定詞“基準”が伏せられている。)。ピッチ面に関する
用語には,限定詞“かみ合い”を“正面”の後に付加する。
a) 外歯車
b) 内歯車
図87−正面歯溝幅の例
3.1.5
はすば歯車の歯直角寸法
3.1.5.1
歯直角断面(normal plane)
基準つるまき線に直交する平面。
3.1.5.2
歯直角圧力角(normal pressure angle)
歯形を定義する基準ラック(3.1.8.2参照)の歯直角断面における圧力角。
3.1.5.3
歯直角ピッチ(normal pitch)
歯形を定義する基準ラック(3.1.8.2参照)の歯直角断面におけるピッチ。
3.1.5.4
歯直角モジュール(normal module)
 
36
B 0102-1:2013
2019年7月1日の法改正により名称が変わりました。まえがきを除き,本規格中の「日本工業規格」を「日本産業規格」に読み替えてください。
歯直角ピッチを円周率πで除した値。
3.1.5.5
歯直角歯厚(normal tooth thickness)
歯形を定義する基準ラック(3.1.8.1参照)の歯直角断面における基準円と接する面上での歯の厚さ。
3.1.5.6
歯直角歯溝幅(normal spacewidth)
歯形を定義する基準ラック(3.1.8.1参照)の歯直角断面における基準円と接する面上での歯溝の幅。
3.1.5.7
頂部幅(crest width)
歯先面上での,一つの歯の両側の歯先の間の最短の長さ。
3.1.6
歯厚測定に関する用語
3.1.6.1
歯直角弦歯厚(normal chordal tooth thickness)
一つの歯の両側の歯すじ間の最短距離(図88参照)。
注記 これは,基準面に関する用語である(限定詞“基準”が伏せられている。)。ピッチ面に関する
用語には,限定詞“かみ合い”を“歯直角”の後に付加する。
図88−歯直角弦歯厚の例
3.1.6.2
弦歯たけ(chordal height)
歯頂部から歯直角弦歯厚の測定点の中点間での最短距離(図89参照)。
注記 これは,基準面に関する用語である(限定詞“基準”が伏せられている。)。ピッチ面に関する
用語には,限定詞“かみ合い”を付加する。
a) 外歯車
b) 内歯車
図89−弦歯たけの例
3.1.6.3
一定弦歯厚(constant chord)
 
37
B 0102-1:2013
2019年7月1日の法改正により名称が変わりました。まえがきを除き,本規格中の「日本工業規格」を「日本産業規格」に読み替えてください。
インボリュート歯車において,一つの歯とその基準ラック(3.1.8.2参照)の歯溝とを,中心を合わせて
重ねたとき,両者の歯面の接触線の間の最短距離(図90参照)。
図90−一定弦歯厚の例
3.1.6.4
一定弦歯たけ(constant chord height)
一定弦歯厚の中点と歯の頂部との間の半径方向距離(図91参照)。
図91−一定弦歯たけの例
3.1.6.5
またぎ歯厚(span measurement)
連続する数枚の歯(外歯車),又は歯溝(内歯車)の最も外側の二つの歯面に接する平行な二平面間の距
離(図92参照)。
図92−またぎ歯厚の例
3.1.6.6
オーバーボール寸法(measurement over balls)
オーバーピン寸法(measurement over rollers)
できうる限り直径の両端に近い位置にある歯溝に置いた2個のボール又はピン越しに測った距離(図93
参照)。
 
 
 
38
B 0102-1:2013
2019年7月1日の法改正により名称が変わりました。まえがきを除き,本規格中の「日本工業規格」を「日本産業規格」に読み替えてください。
a) 外歯車(偶数歯)
b) 内歯車(奇数歯)
図93−オーバーボール寸法及びオーバーピン寸法の例
3.1.7
円筒歯車の形式
3.1.7.1
ラック(rack)
一つの面に一連の同じ形状の歯を等間隔にもつ,平らな板又はまっすぐな棒(図94参照)。
注記 ラックは,直径が無限に大きな歯車の一部分とみなすことができる。
a) すぐばラック
b) はすばラック
図94−ラックの例
3.1.7.2
サイクロイド歯車(cycloidal gear)
可用歯形がサイクロイドである円筒歯車(図95参照)。
図95−サイクロイド歯車の例
 
39
B 0102-1:2013
2019年7月1日の法改正により名称が変わりました。まえがきを除き,本規格中の「日本工業規格」を「日本産業規格」に読み替えてください。
3.1.7.3
円筒ピン歯車(cylindrical lantern gear)
歯車の軸に平行な軸をもつ円筒ピンを歯とする円筒歯車(図96参照)。
図96−円筒ピン歯車の例
3.1.7.4
インボリュート(円筒)歯車[involute (cylindrical) gear]
可用正面歯形が,インボリュートである円筒歯車(図97参照)。
図97−インボリュート(円筒)歯車の例
3.1.7.5
基礎円(base circle)
インボリュート円筒歯車の可用正面歯形であるインボリュートの閉縮線(図98参照)。
図98−基礎円の例
3.1.7.6
基礎円筒(base cylinder)
正面断面が基礎円である歯車と同軸の円筒(図99参照)。
 
40
B 0102-1:2013
2019年7月1日の法改正により名称が変わりました。まえがきを除き,本規格中の「日本工業規格」を「日本産業規格」に読み替えてください。
図99−基礎円筒及び基礎円直径の例
3.1.7.7
基礎円直径(base diameter)
基礎円の直径(図99参照)。
3.1.7.8
正面基礎円ピッチ(transverse base pitch)
二つの連続した対応歯面の正面歯形のインボリュート始点間にある基礎円の弧の長さ(図100参照)。
a) 正面断面
b) 立体図
図100−正面基礎円ピッチ及び正面法線ピッチの例
3.1.7.9
歯直角基礎円ピッチ(normal base pitch)
歯形を定義する基準ラック(3.1.8.1参照)の歯直角断面における,二つの連続した歯形間の共通法線方
向に測った距離。
3.1.7.10
正面法線ピッチ(base pitch)
二つの連続した対応歯面の正面歯形である,インボリュート間の共通法線方向に測った距離。正面法線
ピッチは,正面基礎円ピッチに等しい。
3.1.7.11
正面基礎円歯厚(transverse base thickness)
一つの歯の両側にある正面歯形のインボリュート始点間の基礎円の弧の長さ(図101参照)。
 
41
B 0102-1:2013
2019年7月1日の法改正により名称が変わりました。まえがきを除き,本規格中の「日本工業規格」を「日本産業規格」に読み替えてください。
図101−正面基礎円歯厚の例
3.1.7.12
歯直角基礎円歯厚(normal base thickness)
歯形を定義する基準ラック(3.1.8.1参照)の歯直角断面における歯厚を,データムに平行で基礎円筒に
接する平面上で測った距離。
3.1.8
歯の創成
3.1.8.1
基準ラック(basic rack)
インボリュート歯車の歯形列(歯数で変化する歯形の集まり)となる歯の寸法を定義するために用いら
れるラック(図102参照)。
図102−基準ラックの例
3.1.8.2
標準基準ラック歯形(standard basic rack tooth profile)
標準化された基準ラック(図103参照)。
図103−標準基準ラックの例
3.1.8.3
カウンタラック(counter rack)
基準ラックの歯がその歯溝を正確に満たし,またその歯が基準ラックの歯溝を正確に満たすように重ね
合わせることができるラック。
3.1.8.4
データム面(datum plane)
基準ラックで,歯厚のピッチに対する比が,特定の標準値になるような平面(図104参照)。
 
42
B 0102-1:2013
2019年7月1日の法改正により名称が変わりました。まえがきを除き,本規格中の「日本工業規格」を「日本産業規格」に読み替えてください。
3.1.8.5
データム線(datum line)
基準ラック歯形を与える平面とデータム面との交線。標準基準ラックでは,歯形を定める基準となる(図
104参照)。
図104−データム線,データム面の例
3.1.8.6
転位量(profile shift)
歯車とその基準ラックとを,一方の一つ歯の両歯面が他方のそれと接触するように重ねたとき,歯車の
基準円筒と基準ラックのデータム面との間の共通法線方向に測った距離(図105参照)。
注記 外歯車では,基準ラックのデータム線が歯車の軸から遠ざかるとき転位量は正となる。内歯車
では,基準ラックのデータム線が歯車の軸に近づくとき転位量は正となる。結果として,いず
れの場合も,転位量が正のとき歯厚が増加する。この転位量の正負の定義は,ISO規格に合わ
せたものであり,旧規格とは内歯車で異なる。
図105−転位量の例
3.1.8.7
歯末短縮量(truncation)
標準基準ラック歯形で定義された歯末のたけに対する歯たけの減少量。
3.1.8.8
転位係数(profile shift coefficient)
転位量を歯直角モジュールで除した値。
3.1.8.9
歯末短縮係数(truncation coefficient)
歯末短縮量を歯直角モジュールで除した値。
3.1.9
創成歯切り工具及び関連特性
3.1.9.1
ラックカッタ(rack-type cutter)
ラックの形状をした創成歯切り工具(図106参照)。
 
43
B 0102-1:2013
2019年7月1日の法改正により名称が変わりました。まえがきを除き,本規格中の「日本工業規格」を「日本産業規格」に読み替えてください。
図106−ラックカッタの例
3.1.9.2
ピニオンカッタ(pinion-type cutter)
歯車を創成歯切りするための逃げのついた円筒歯車状の工具(図107参照)。
図107−ピニオンカッタの例
3.1.9.3
ホブ(hob)
歯車を創成歯切りするためのねじ状の工具(図108参照)。
図108−ホブの例
3.1.9.4
工具圧力角(nominal pressure angle)
歯切り工具の創成運動から仮想される基準ラックの歯直角圧力角(図109参照)。
図109−工具圧力角の例
3.1.9.5
工具ピッチ(nominal pitch of the cutter)
歯切り工具の創成運動から仮想される基準ラックの歯直角ピッチ(図110参照)。
3.1.9.4
 
44
B 0102-1:2013
2019年7月1日の法改正により名称が変わりました。まえがきを除き,本規格中の「日本工業規格」を「日本産業規格」に読み替えてください。
図110−工具ピッチの例
3.1.9.6
工具モジュール(cutter module)
工具ピッチを円周率πで除した値。
3.2
円筒歯車対
3.2.1
円筒歯車対の形式
3.2.1.1
サイクロイド歯車対(cycloidal gear pair)
二つのかみ合うサイクロイド歯車。
3.2.1.2
円筒ピン小歯車と大歯車(cylindrical lantern pinion and wheel)
円筒ピン小歯車と,それとかみ合う円筒大歯車からなる歯車対。
3.2.1.3
インボリュート平歯車対(involute spur gear pair)
二つのかみ合うインボリュート平歯車。
3.2.1.4
平行軸はすば歯車対(parallel helical gears)
平行軸でかみ合うはすば歯車。
3.2.1.5
ねじ歯車(crossed helical gears)
食い違い軸でかみ合うはすば歯車(図111参照)。
図111−ねじ歯車の例
3.2.2
歯たけ及びすきま
3.2.2.1
中心線(line of centres)
3.1.9.5
 
45
B 0102-1:2013
2019年7月1日の法改正により名称が変わりました。まえがきを除き,本規格中の「日本工業規格」を「日本産業規格」に読み替えてください。
歯車対の両軸の共通垂線で,同一平面にある二つのピッチ円の中心を結ぶ直線(図112参照)。
図112−中心線の例
3.2.2.2
かみ合い歯たけ(operating depth)
かみ合う二つの歯車の中心線上で測った歯先面間の距離(図113参照)。
図113−かみ合い歯たけの例
3.2.2.3
頂げき(clearance)
中心線上で測った歯車の歯先面と相手歯車の歯底面との間の距離(図114参照)。
図114−頂げきの例
3.2.2.4
円周方向バックラッシ(circumferential backlash)
相手歯車を固定し,歯車を回転させることが出来るピッチ円上の弧の長さ(図115参照)。
 
46
B 0102-1:2013
2019年7月1日の法改正により名称が変わりました。まえがきを除き,本規格中の「日本工業規格」を「日本産業規格」に読み替えてください。
図115−円周方向バックラッシの例
3.2.2.5
歯直角法線バックラッシ(normal backlash)
作用歯面が接触しているときの非作用歯面間の最短距離(図116参照)。
図116−歯直角法線バックラッシの例
3.2.2.6
基準バックラッシ(reference backlash)
円周方向バックラッシと基準円直径との積をピッチ円直径で除した値。
3.2.2.7
角度バックラッシ(angular backlash)
相手歯車を特定の中心距離で固定したとき,歯車が回転できる角度の最大値。
3.2.2.8
半径方向の遊び(radial play)
作用及び非作用両歯面を接触させたときの中心距離の,所定の中心距離からの減少量。
3.2.3
かみ合い率に関する用語(平行軸インボリュート歯車対)
注記 平歯車に対しては,重なり弧,重なり角及び重なりかみ合い率は0となる。また,全かみ合い
率等と正面かみ合い率などとの値は同一となる。この場合には,限定詞は不要で,それらの記
号には,これらを意味する添え字は付けない。
3.2.3.1
作用線(line of action)
二つの正面歯形の接触点における共通法線(図117参照)。
注記 平行軸インボリュート歯車対では,作用線は両歯車の基礎円の共通接線でもある。
 
47
B 0102-1:2013
2019年7月1日の法改正により名称が変わりました。まえがきを除き,本規格中の「日本工業規格」を「日本産業規格」に読み替えてください。
図117−作用線の例
3.2.3.2
作用面(plane of action)
かみ合う二つの歯車の基礎円筒に接する平面。これは,作用線を含む(図118参照)。
図118−作用平面の例
3.2.3.3
接触点の軌跡(path of contact)
かみ合う正面歯形の連続した接触点の位置の連なり(図119参照)。
注記 平行軸インボリュート歯車対では,正面断面内の接触点の軌跡は両歯車の歯先円の間にある作
用線となる。
図119−接触点の軌跡の例
3.2.3.4
ピッチ点(pitch point)
二つのピッチ円の接点(図120参照)。
3.2.3.2
 
48
B 0102-1:2013
2019年7月1日の法改正により名称が変わりました。まえがきを除き,本規格中の「日本工業規格」を「日本産業規格」に読み替えてください。
図120−ピッチ点の例
3.2.3.5
全かみ合い角(total angle of transmission)
一つの歯面の接触の始めから終わりまでの間に歯車が回転する角度(図121参照)。
図121−全かみ合い角の例
3.2.3.6
全かみ合い弧(total arc of transmisson)
一つの歯面がその接触の始めから終わりまでの間に,一つの正面歯形が通過する基準円の弧の長さ(図
122参照)。
図122−全かみ合い弧の例
3.2.3.7
正面かみ合い角(transverse angle of transmission)
一つの正面断面において,正面歯形の接触始めから終わりまでの間に歯車が回転する角度(図123参照)。
 
49
B 0102-1:2013
2019年7月1日の法改正により名称が変わりました。まえがきを除き,本規格中の「日本工業規格」を「日本産業規格」に読み替えてください。
図123−正面かみ合い角の例
3.2.3.8
正面かみ合い弧(transverse arc of transmission)
一つの正面断面において,正面歯形の接触始めから終わりまでの間に歯車が回転する基準円の弧の長さ
(図124参照)。
図124−正面かみ合い弧の例
3.2.3.9
重なりかみ合い角(overlap angle)
一つの基準歯すじの両端を含む二つの軸平面のなす角(図125参照)。
注記 重なりかみ合い角は,全かみ合い角から正面かみ合い角を引いた値に等しい。
図125−重なりかみ合い角の例
3.2.3.9
 
50
B 0102-1:2013
2019年7月1日の法改正により名称が変わりました。まえがきを除き,本規格中の「日本工業規格」を「日本産業規格」に読み替えてください。
3.2.3.10
重なりかみ合い弧(overlap arc)
一つの基準歯すじの両端のそれぞれを含む二つの軸平面間にある基準円の弧の長さ。
注記 重なりかみ合い弧は,全かみ合い弧から正面かみ合い弧を引いた値に等しい。
3.2.3.11
正面かみ合い率(transverse contact ratio)
正面かみ合い角を角度ピッチで除した値。
注記 正面かみ合い率は,かみ合い長さ(3.2.4.1)を正面法線ピッチで除した値に等しい。
3.2.3.12
重なりかみ合い率(overlap ratio)
重なりかみ合い角を角度ピッチで除した値。
注記 重なりかみ合い率は,歯幅を軸方向ピッチで除した値に等しい。
3.2.3.13
全かみ合い率(total contact ratio)
全かみ合い角を角度ピッチで除した値。
注記 全かみ合い率は,正面かみ合い率と重なりかみ合い率との和に等しい。
3.2.4
かみ合い長さに関する用語(平行軸インボリュート歯車対)
3.2.4.1
かみ合い長さ(length of path of contact)
かみ合う歯車の両歯先円間にある作用線の長さ(図126参照)。
図126−かみ合い長さの例
3.2.4.2
近寄りかみ合い(approach contact)
被動歯車の歯先円とピッチ点との間にある,接触点の軌跡上の任意の点における接触。
3.2.4.3
遠のきかみ合い(recess contact)
ピッチ点と駆動歯車の歯先円との間にある,接触点の軌跡上の任意の点における接触。
3.2.4.4
近寄りかみ合い長さ(length of approach path)
接触点軌跡の近寄りかみ合いが生じる部分の長さ(図127参照)。
 
51
B 0102-1:2013
2019年7月1日の法改正により名称が変わりました。まえがきを除き,本規格中の「日本工業規格」を「日本産業規格」に読み替えてください。
図127−近寄りかみ合い長さの例
3.2.4.5
遠のきかみ合い長さ(length of recess path)
接触点軌跡の遠のきかみ合いが生じる部分の長さ(図128参照)。
図128−遠のきかみ合い長さの例
3.2.4.6
重なりかみ合い長さ(overlap length)
歯幅と基礎円筒ねじれ角の正接との積に等しい長さ(図129参照)。
注記 平歯車対では,重なりかみ合い長さは0となる。
図129−重なりかみ合い長さの例
3.2.5
中心距離に関する用語(平行軸歯車対)
3.2.5.1
基準中心距離(reference center distance)
外歯車対では,二つの歯車の基準円直径の和の1/2。内歯車対では,二つの歯車の基準円直径の差の1/2。
3.2.4.6
 
52
B 0102-1:2013
2019年7月1日の法改正により名称が変わりました。まえがきを除き,本規格中の「日本工業規格」を「日本産業規格」に読み替えてください。
3.2.5.2
基準中心距離歯車対(gear pair with reference center distance)
中心距離が基準中心距離に等しい歯車対。
3.2.5.3
修整中心距離歯車対(gear pair with modified center distance)
中心距離が基準中心距離と異なる歯車対。
3.2.5.4
中心距離修整係数(center distance modification coefficient)
中心距離と基準中心距離との差をモジュールで除した値。
4
かさ歯車対及びハイポイドギヤに関する用語
4.1
かさ歯車及びハイポイドピニオン・ホイールに関する用語
4.1.1
円すい
4.1.1.1
基準円すい(reference cone)
かさ歯車,ハイポイドピニオン及びハイポイドホイールの基準面。
4.1.1.2
基準円すい頂点(reference cone apex)
基準円すいの頂点(図130参照)。
図130−基準円すい頂点の例
4.1.1.3
ピッチ円すい(pitch cone)
かさ歯車対をなすそれぞれのかさ歯車のピッチ面(図131参照)。
図131−ピッチ円すいの例
 
53
B 0102-1:2013
2019年7月1日の法改正により名称が変わりました。まえがきを除き,本規格中の「日本工業規格」を「日本産業規格」に読み替えてください。
4.1.1.4
歯先円すい(tip cone)
かさ歯車,ハイポイドピニオン及びハイポイドホイールの歯先面。
4.1.1.5
歯底円すい(root cone)
かさ歯車,ハイポイドピニオン及びハイポイドホイールの歯底面。
4.1.1.6
外端背円すい(outer back cone)
歯幅の外端で,その母線が基準円すいの母線に垂直な円すい(図132参照)。
図132−外端背円すい及び内端背円すいの例
4.1.1.7
内端背円すい(inner back cone)
歯幅の内端で,その母線が基準円すいの母線に垂直な円すい。
4.1.1.8
中央背円すい(mean back cone)
歯幅の中央で,その母線が基準円すいの母線に垂直な円すい。
4.1.1.9
内端…(inner ...)
内端背円すいに関して定義される用語に用いる限定詞。
4.1.1.10
中央…(mean ...)
中央背円すいに関して定義される用語に用いる限定詞。
4.1.1.11
背円すい歯形(back cone tooth profile)
外端背円すいとかさ歯車及びハイポイドピニオン・ホイールの歯面との交線として得られる歯形。
4.1.1.12
かさ歯車の仮想円筒歯車(virtual cylindrical gear of a bevel gear)
かさ歯車の背円すい歯形を平面に展開した歯形を正面歯形とする,仮想の円筒歯車。
4.1.2
円すいの寸法
4.1.2.1
基準円すい角(reference cone angle)
 
54
B 0102-1:2013
2019年7月1日の法改正により名称が変わりました。まえがきを除き,本規格中の「日本工業規格」を「日本産業規格」に読み替えてください。
歯底円すいの母線を含んで測った,基準円すい母線と軸とのなす角度。
4.1.2.2
ピッチ円すい角(pitch angle)
歯底円すいの母線を含んで測った,ピッチ円すい母線と軸とのなす角度(図133参照)。
図133−ピッチ円すい角の例
4.1.2.3
基準円(reference circle)
軸に垂直な平面と基準円すいとが交わる円。通常,外端(4.1.3.8)又は歯幅の中央で定義される。
注記 通常,基準円すいと外端背円すいとが交わる円とする。
4.1.2.4
基準円直径(reference diameter)
基準円の直径(図134参照)。
図134−基準円直径の例
4.1.2.5
歯先円すい角(tip angle)
歯車の歯を含む側で測った,軸と歯先円すいの母線とのなす角度(図135参照)。
 
 
 
 
55
B 0102-1:2013
2019年7月1日の法改正により名称が変わりました。まえがきを除き,本規格中の「日本工業規格」を「日本産業規格」に読み替えてください。
a) 外歯車
b) 内歯車
図135−歯先円すい角の例
4.1.2.6
歯底円すい角(root angle)
歯車の歯を含まない側で測った,軸と歯底円すいの母線とのなす角度(図136参照)。
a) 外歯車
b) 内歯車
図136−歯底円すい角の例
4.1.2.7
背円すい角(back cone angle)
歯車を含む側で測った,軸と外端背円すいの母線とのなす角度。
4.1.2.8
歯先円(tip circle)
歯先円すいと外端背円すいとが交わる円。
4.1.2.9
歯底円(root circle)
歯底円すいと外端背円すいとが交わる円。
4.1.2.10
歯先円直径(tip diameter)
歯先円の直径(図137参照)。
4.1.2.11
歯底円直径(root diameter)
歯底円の直径(図137参照)。
 
56
B 0102-1:2013
2019年7月1日の法改正により名称が変わりました。まえがきを除き,本規格中の「日本工業規格」を「日本産業規格」に読み替えてください。
図137−歯先円直径,歯底円直径の例
4.1.2.12
ねじれ角(spiral angle)
まがりばかさ歯車又はハイポイドピニオン・ホイールの歯面の任意の点において,基準円すいの接平面
内でその円すいの母線と当該点での歯すじの接線のなす角。
4.1.3
歯すじ方向寸法及び関連特性
4.1.3.1
歯幅(facewidth)
基準円すいの母線に沿って測った歯車の歯の部分の長さ(図138参照)。
図138−歯幅の例
4.1.3.2
外端円すい距離(outer cone distance)
基準円すいに沿った基準円すい頂点から外端背円すいまでの距離(図139参照)。
図139−外端円すい距離の例
4.1.3.3
中央円すい距離(mean cone distance)
 
57
B 0102-1:2013
2019年7月1日の法改正により名称が変わりました。まえがきを除き,本規格中の「日本工業規格」を「日本産業規格」に読み替えてください。
基準円すいに沿った基準円すい頂点から中央背円すいまでの距離。
4.1.3.4
内端円すい距離(inner cone distance)
基準円すいに沿った基準円すい頂点から内端背円すいまでの距離。
4.1.3.5
位置決め面(locating face)
被削歯車の軸に垂直で,軸方向位置の基準となる平面(図140参照)。
4.1.3.6
組立距離(mounting distance)
かさ歯車では,基準円すい頂点から位置決め面までの軸方向の距離。ハイポイドピニオン・ホイールで
は,ハイポイドギヤの両軸の共通垂線とそれぞれの歯車軸との交点から位置決め面までの各軸方向の距離
(図140参照)。
a) 外端側基準
b) 内端側基準
c) ハイポイドギヤ
図140−位置決め面及び組立距離の例
4.1.3.7
歯先距離(tip distance)
歯先円を含む平面から位置決め面までの歯車軸方向の距離(図141参照)。
a) 外端側基準
b) 内端側基準
図141−歯先距離の例
4.1.3.8
外端(heel)
かさ歯車又はハイポイドピニオン・ホイールの歯の基準円すい頂点から遠い方の端部。
 
58
B 0102-1:2013
2019年7月1日の法改正により名称が変わりました。まえがきを除き,本規格中の「日本工業規格」を「日本産業規格」に読み替えてください。
4.1.3.9
内端(toe)
かさ歯車又はハイポイドピニオン・ホイールの歯の基準円すい頂点に近い方の端部。
4.1.3.10
オフセット(offset)
ハイポイドギヤの中心距離。
注記 大歯車の基準円すい頂点から見て小歯車を右側においたとき,小歯車がその頂点より上にある
ときを正とする。
4.1.4
歯末のたけ及び歯元のたけに関する用語
4.1.4.1
歯たけ(tooth depth)
外端背円すい母線に沿って測った歯先円と歯底円との間の距離(図142参照)。
図142−歯たけの例
4.1.4.2
歯末のたけ(addendum)
外端背円すい母線に沿って測った歯先円と基準円との間の距離(図143参照)。
図143−歯末のたけ及び歯末角の例
4.1.4.3
歯末角(addendum angle)
歯先角と基準円すい角との差(図143参照)。
4.1.4.4
歯元のたけ(dedendum)
外端背円すい母線に沿って測った基準円と歯底円との間の距離(図144参照)。
 
59
B 0102-1:2013
2019年7月1日の法改正により名称が変わりました。まえがきを除き,本規格中の「日本工業規格」を「日本産業規格」に読み替えてください。
図144−歯元のたけ及び歯元角の例
4.1.4.5
歯元角(dedendum angle)
基準円すい角と歯底角との差(図144参照)。
4.1.5
すぐばかさ歯車に関する用語
4.1.5.1
任意点の圧力角(pressure angle at a point)
背円すい歯形の任意点における接線と,その接線を通り基準円すいに垂直な線のなす角の鋭角側の角度
(図145参照)。
図145−任意点の圧力角の例
4.1.5.2
圧力角(pressure angle)
背円すい歯形が基準円と交わる点における圧力角(図146参照)。
注記 “基準”と“かみ合い”とを明確に区別する必要がない場合,慣用的に限定詞“基準”を既知
のこととして省略してもよい。加工時のデータム面として“基準面”を使用し,これと混同す
るおそれがある場合は,限定詞“歯の基準”を用いる。
図146−圧力角の例
60
B 0102-1:2013
2019年7月1日の法改正により名称が変わりました。まえがきを除き,本規格中の「日本工業規格」を「日本産業規格」に読み替えてください。
4.1.5.3
ピッチ(pitch)
連続した二つの対応歯形の間にある基準円弧の弧の長さ。
注記 “基準”と“かみ合い”とを明確に区別する必要がない場合,慣用的に限定詞“基準”を既知
のこととして省略してもよい。加工時のデータム面として“基準面”を使用し,これと混同す
るおそれがある場合は,限定詞“歯の基準”を用いる。
4.1.5.4
モジュール(module)
ピッチを円周率πで除した値。基準円直径を歯数で除した値に等しい。
注記 “基準”と“かみ合い”とを明確に区別する必要がない場合,慣用的に限定詞“基準”を既知
のこととして省略してもよい。加工時のデータム面として“基準面”を使用し,これと混同す
るおそれがある場合は,限定詞“歯の基準”を用いる。
4.1.5.5
ダイヤメトラルピッチ(diametral pitch)
円周率πをインチで表したピッチで除した値。
4.1.5.6
歯厚(tooth thickness)
一つ歯の両側の背円すい歯形の間にある基準円の弧の長さ(図147参照)。
注記 “基準”と“かみ合い”とを明確に区別する必要がない場合,慣用的に限定詞“基準”を既知
のこととして省略してもよい。加工時のデータム面として“基準面”を使用し,これと混同す
るおそれがある場合は,限定詞“歯の基準”を用いる。
図147−歯厚の例
4.1.5.7
歯溝幅(spacewidth)
一つの歯溝の両側の背円すい歯形の間にある基準円の弧の長さ(図148参照)。
注記 “基準”と“かみ合い”とを明確に区別する必要がない場合,慣用的に限定詞“基準”を既知
のこととして省略してもよい。加工時のデータム面として“基準面”を使用し,これと混同す
るおそれがある場合は,限定詞“歯の基準”を用いる。
 
61
B 0102-1:2013
2019年7月1日の法改正により名称が変わりました。まえがきを除き,本規格中の「日本工業規格」を「日本産業規格」に読み替えてください。
図148−歯溝幅の例
4.1.5.8
歯厚半角(tooth thickness half angle)
歯厚を基準円直径で除して得られる角度(図149参照)。
図149−歯厚半角の例
4.1.5.9
歯溝幅半角(spacewidth half angle)
歯溝幅を基準円直径で除して得られる角度(図150参照)。
図150−歯溝幅半角の例
4.1.5.10
弦歯厚(chordal tooth thickness)
外端背円すいにおける歯直角弦歯厚。
注記 “基準”と“かみ合い”とを明確に区別する必要がない場合,慣用的に限定詞“基準”を既知
のこととして省略してもよい。加工時のデータム面として“基準面” を使用し,これと混同す
るおそれがある場合は,限定詞“歯の基準”を用いる。
4.1.5.11
弦歯たけ(chordal height)
 
62
B 0102-1:2013
2019年7月1日の法改正により名称が変わりました。まえがきを除き,本規格中の「日本工業規格」を「日本産業規格」に読み替えてください。
外端背円すいにおける弦歯たけ。
注記 “基準”と“かみ合い”とを明確に区別する必要がない場合,慣用的に限定詞“基準”を既知
のこととして省略してもよい。加工時のデータム面として“基準面” を使用し,これと混同す
るおそれがある場合は,限定詞“歯の基準”を用いる。
4.1.6
交差軸歯車対及び食い違い軸歯車対の形式
4.1.6.1
冠歯車(crown gear, crown wheel)
基準円すい角が90°のかさ歯車(図151参照)。
図151−冠歯車の例
4.1.6.2
フェースギヤ(face gear, contrate gear)
歯先及び歯底円すい角が90°のかさ歯車(図152参照)。
図152−フェースギヤの例
4.1.6.3
はすばかさ歯車(helical bevel gear, skew bevel gear)
その一つの同心円に接する直線歯すじをもつ冠歯車に共役なかさ歯車(図153参照)。
図153−はすばかさ歯車の例
4.1.6.4
歯すじのオフセット(offset of tooth trace)
すぐばかさ歯車の歯すじとその共役冠歯車の軸との間の最短距離(図154参照)。
 
63
B 0102-1:2013
2019年7月1日の法改正により名称が変わりました。まえがきを除き,本規格中の「日本工業規格」を「日本産業規格」に読み替えてください。
図154−歯すじのオフセットの例
4.1.6.5
オクトイドギヤ(octoid gear)
歯直角断面で直線歯形をもつ冠歯車と共役なかさ歯車。
注記 この歯形は,球面インボリュート及びその仮想円筒歯車のインボリュート歯形の双方を近似し
ている。
4.1.7
創成歯切り工具に関する用語
4.1.7.1
工具刃先角(cutter tip angle)
冠歯車の歯溝の両側の歯面と歯先円すいとの両交線のなす角の1/2(図155参照)。
図155−工具刃先角の例
4.1.7.2
カッタモジュール(cutter module)
標準歯たけとなるように歯切りができる工具の,最も大きい標準モジュール。
4.1.7.3
カッタダイヤメトラルピッチ(cutter diametral pitch)
標準歯たけとなるように歯切りができる工具の,最も小さい標準のダイヤメトラルピッチ。
4.2
交差軸歯車対に関わる用語
4.2.1
歯車対の形式
4.2.1.1
すぐばかさ歯車対(straight bevel gear pair)
かみ合う二つのすぐばかさ歯車。
4.2.1.2
はすばかさ歯車対(helical bevel gear pair, skew bevel gear pair)
かみ合う二つのはすばかさ歯車。
 
64
B 0102-1:2013
2019年7月1日の法改正により名称が変わりました。まえがきを除き,本規格中の「日本工業規格」を「日本産業規格」に読み替えてください。
4.2.1.3
まがりばかさ歯車対(spiral bevel gear pair)
かみ合う二つのまがりばかさ歯車。
4.2.1.4
フェースギヤ対(face gear pair, contrate gear pair)
フェースギヤとそれとかみ合う小歯車からなる軸角90°の交差軸歯車対。
注記 食い違い軸歯車対として用いる場合もある。
4.2.1.5
仮想円筒歯車対(virtual cylindrical gear pair)
かさ歯車対の二つの仮想円筒歯車からなる歯車対。
4.2.2
歯たけ及びすきま(かさ歯車対)
4.2.2.1
かみ合い歯たけ(operating depth)
かみ合うかさ歯車の歯先円の間の共通となる外端背円すい母線に沿って測った距離(図156参照)。
図156−かみ合い歯たけの例
4.2.2.2
頂げき(かさ歯車)(bevel clearance)
かさ歯車の歯先と相手歯車の歯底円との間の,共通となる外端背円すい母線に沿って測った距離(図157
参照)。
図157−頂げきの例
4.2.2.3
円周方向バックラッシ(circumferential backlash)
相手歯車を固定し,歯車を回転させることができる外端で定義した基準円上の弧の長さ(図158参照)。
 
65
B 0102-1:2013
2019年7月1日の法改正により名称が変わりました。まえがきを除き,本規格中の「日本工業規格」を「日本産業規格」に読み替えてください。
図158−円周方向バックラッシの例
4.2.2.4
歯直角法線方向バックラッシ(normal backlash)
一対の歯車の作用歯面を接触させている場合の外端背円すい上の非作用歯面間の最短距離。
4.2.2.5
共通頂点(common apex)
かさ歯車対の二つのピッチ円すい頂点が一致する点。
4.2.2.6
軸角(かさ歯車)(shaft angle)
かさ歯車対のピッチ円すい角の和。
 
66
B 0102-1:2013
2019年7月1日の法改正により名称が変わりました。まえがきを除き,本規格中の「日本工業規格」を「日本産業規格」に読み替えてください。
附属書JA
(参考)
JISと対応国際規格との対比表
JIS B 0102-1:2013 歯車用語−第1部:幾何形状に関する定義
ISO 1122-1:1998 Vocabulary of gear terms−Part 1: Definitions related to geometry
(I)JISの規定
(II) 
国際規格
番号 
(III)国際規格の規定
(IV)JISと国際規格との技術的差異の箇条
ごとの評価及びその内容 
(V)JISと国際規格との技術的差
異の理由及び今後の対策 
箇条番号
及び題名 
内容
箇条番号
内容
箇条ごと
の評価 
技術的差異の内容
2一般
歯車の幾何学的用
語に関する一般事
項を規定 
1
JISと同じ。
追加 
変更 
国内事情を考慮し,用語及び定
義並びに図について変更及び追
加を行った。 
国内事情による。
3 円筒歯
車及び円
筒歯車対 
円筒歯車及び円筒
歯車対に関する用
語を規定 
2
JISと同じ。
追加 
変更 
国内事情を考慮し,用語及び定
義並びに図について変更及び追
加を行った。 
国内事情による。
4 かさ歯
車対及び
ハイポイ
ドギヤに
関する用
語 
かさ歯車対及びハ
イポイドギヤに関
する用語を規定 
3
JISと同じ。
削除 
追加 
変更 
国内事情を考慮し,用語及び定
義並びに図について変更,追加
及び削除を行った。 
国内事情による。
JISと国際規格との対応の程度の全体評価:ISO 1122-1:1998,MOD
注記1 箇条ごとの評価欄の用語の意味は,次による。
  − 削除……………… 国際規格の規定項目又は規定内容を削除している。 
  − 追加……………… 国際規格にない規定項目又は規定内容を追加している。 
  − 変更……………… 国際規格の規定内容を変更している。 
注記2 JISと国際規格との対応の程度の全体評価欄の記号の意味は,次による。
− MOD…………… 国際規格を修正している。
2
8
B
0
1
0
2
-1
:
2
0
1
3
2019年7月1日の法改正により名称が変わりました。まえがきを除き、本規格中の「日本工業規格」を「日本産業規格」に読み替えてください。